小猪号
  • 首页
  • 资讯中心
    • IT业界
    • 实时快讯
    • 手机平板
    • 爱车一族
    • 游戏世界
    • 家电数码
    • 软件之家
    • 电脑办公
    • 科学动态
    • 影音达人
  • 苹果新闻
  • 特斯拉
  • 技术分类
    • 苹果技术
    • safari教程
    • Homepod技术
    • Mac技巧
    • Mac工具软件
    • AirPods教程
    • AirTag教程
    • iPhone教程
    • iPad教程
    • Apple Watch教程
    • Apple 服务计划
    • Pages教程
    • Numbers教程
  • 智能时代
    • 人工智能
    • 智能家居
    • 智能穿戴
  • 百科排行
    • 产品运营
    • 创业资讯
    • 手机术语
    • 手机问题
    • 装修建材
    • 网络流行榜
标签
首页 大脸猫 第32页发布的文章
难怪苹果一直是万年不变的1200万像素!iPhone相机揭秘 苹果新闻

难怪苹果一直是万年不变的1200万像素!iPhone相机揭秘

难怪苹果一直是万年不变的1200万像素!iPhone相机揭秘...

苹果新闻 2022-02-18 833 #另一方面 #新的手机摄像头 #感光元件和软件算法之间的协同 #任何一家手机厂商都不敢保证能在短时间内完全吃透 #它需要花时间去打磨 #而苹果而言这也不是问题。

折叠屏iPhone正在路上:曝LG将为苹果开发可折叠显示屏 苹果新闻

折叠屏iPhone正在路上:曝LG将为苹果开发可折叠显示屏

折叠屏iPhone正在路上:曝LG将为苹果开发可折叠显示屏...

苹果新闻 2022-02-18 695

摧毁一部iPhone 6的10种方法 苹果新闻

摧毁一部iPhone 6的10种方法

...

苹果新闻 2022-02-18 493

苹果240Hz刷新率专利曝光 网友:续航怎么办? 苹果新闻

苹果240Hz刷新率专利曝光 网友:续航怎么办?

苹果240Hz刷新率专利曝光 网友:续航怎么办?...

苹果新闻 2022-02-18 504

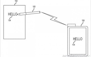
如果iPhone有触摸笔会怎么样 苹果新闻

如果iPhone有触摸笔会怎么样

...

苹果新闻 2022-02-18 563

苹果的零售业绩已开始悄然下滑 苹果新闻

苹果的零售业绩已开始悄然下滑

...

苹果新闻 2022-02-18 573

微信以后不能大号小号一起玩了 苹果新闻

微信以后不能大号小号一起玩了

...

苹果新闻 2022-02-18 579

形态颠覆以往!苹果可折叠iPhone前瞻 苹果新闻

形态颠覆以往!苹果可折叠iPhone前瞻

形态颠覆以往!苹果可折叠iPhone前瞻...

苹果新闻 2022-02-18 469

哪款苹果iPhone手机最漂亮? 苹果新闻

哪款苹果iPhone手机最漂亮?

...

苹果新闻 2022-02-18 788

美国警方破获一起杀妻案 iPhone上的“健康”数据成为证据 苹果新闻

美国警方破获一起杀妻案 iPhone上的“健康”数据成为证据

美国警方破获一起杀妻案 iPhone上的“健康”数据成为证据...

苹果新闻 2022-02-18 566

首页 上页 28 29 30 31 32 33 34 35 36 37 下页 尾页

最新文章

  • 遗憾!重庆江北嘴的“坑”

    遗憾!重庆江北嘴的“坑”

    2025-09-24 0
  • Bitget 注册邀请链接【2025最新】手续费返佣+注册奖励全攻略

    Bitget 注册邀请链接【2025最新】手续费返佣

    2025-08-28 0
  • 如何购买Bitget Token(BGB)

    如何购买Bitget Token(BGB)

    2025-08-28 0
  • 重庆旅游的花费因旅行方式|重庆旅游花多少钱。

    重庆旅游的花费因旅行方式|重庆旅游花多少钱。

    2025-06-16 0
  • 福建旅游花多少钱?|福建旅游的花费因旅行方式、行程时长、住宿餐饮标准

    福建旅游花多少钱?|福建旅游的花费因旅行方式、行程时

    2025-06-16 0
  • 开源,免费,新一代智能国产品开源WAF的NO1,雷池(SafeLine)

    开源,免费,新一代智能国产品开源WAF的NO1,雷池

    2025-06-16 0

热门文章

    关于本站

    小猪号,分享美好数字生活! 网站地图 网站地图sitemap
    Copyright © 2019 本站由 Z-BlogPHP强力驱动渝ICP备2021004682号-2

    联系我们

    合作或咨询可通过如下方式:

    email:site777#qq.com #换@

    关注我们

    小猪号二维码